Molded Case Circuit Breakers
Molded Case Circuit Breaker Dimensions
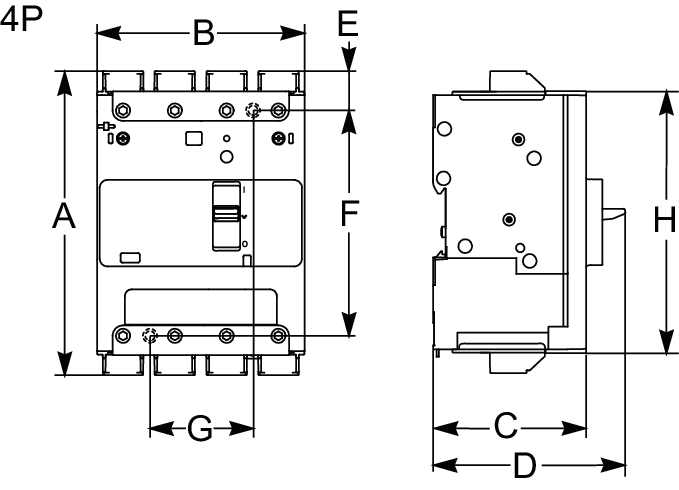
PowerPacT B-, H-, J-, and L-Frame Circuit Breakers
|
Circuit Breaker |
No. of Poles |
Fig. No. |
Dimensions — Inches |
|||||||
|---|---|---|---|---|---|---|---|---|---|---|
|
A |
B |
C |
D |
E |
F |
G |
H |
|||
|
B-Frame |
1 |
35 |
6.79 |
1.06 |
3.15 |
4.01 |
0.20 |
6.33 |
— |
5.39 |
|
2 |
36 |
6.22 |
2.12 |
3.15 |
4.01 |
0.86 |
4.48 |
— |
5.39 |
|
|
3 |
37 |
6.22 |
3.19 |
3.15 |
4.01 |
0.86 |
4.48 |
1.06 |
5.39 |
|
|
4 |
38 |
6.22 |
4.25 |
3.15 |
4.01 |
0.86 |
4.48 |
2.12 |
5.39 |
|
|
H-Frame |
2 [1] |
25 |
6.40 |
2.74 |
2.87 |
4.36 |
0.74 |
4.92 |
— |
— |
|
3 |
26 |
6.40 |
4.12 |
2.87 |
4.36 |
0.74 |
4.92 |
1.38 |
— |
|
|
J-Frame |
3 |
27 |
7.52 |
4.12 |
2.87 |
5.00 |
1.30 |
4.92 |
1.38 |
— |
|
L-Frame |
3 |
28 |
13.38 |
5.51 |
3.75 |
6.61 |
2.22 |
7.87 |
1.77 |
— |
ED, EG, EJ, and GJ Circuit Breakers
|
Circuit Breaker |
No. of Poles |
Fig. No. |
Dimensions — Inches |
||||
|---|---|---|---|---|---|---|---|
|
A |
B |
C |
D |
E |
|||
|
ED, EG, EJ |
1 |
29 |
0.98 |
5.66 |
3.09 |
4.05 |
3.32 |
|
ED, EG, EJ |
2 |
30 |
1.96 |
5.66 |
3.09 |
4.05 |
3.32 |
|
ED, EG, EJ |
3 |
31 |
2.94 |
5.66 |
3.09 |
4.05 |
3.32 |
|
GJ |
3 |
32 |
3.54 |
4.72 |
2.76 |
3.94 |
2.20 |
PowerPacT M-, P-, and R-Frame Circuit Breakers
|
Circuit Breaker |
No. of |
Fig. |
Dimensions — Inches |
||||||
|---|---|---|---|---|---|---|---|---|---|
|
A |
B |
C |
D |
E |
F |
G |
|||
|
M-Frame (800 A and below) |
2, 3 |
33 |
12.86 |
8.27 |
5.77 |
8.05 |
2.49 |
7.87 |
7.83 |
|
P-Frame (1000–1200 A) |
2, 3 |
33 |
16.16 |
8.27 |
5.77 |
8.05 |
4.19 |
7.87 |
7.83 |
|
R-Frame |
2, 3 |
34 |
16.24 |
16.54 |
6.63 |
14.49 |
8.73 |
14.25 |
15.35 |
Shipping Weights [2]
|
Frame Size |
Approx. Shipping Weight (Lbs.) |
Frame Size |
Approx. Shipping Weight (Lbs.) |
|---|---|---|---|
|
B-Frame 1P |
1 |
H-Frame 2P |
4 |
|
B-Frame 2P |
2 |
H-Frame 3P |
5 |
|
B-Frame 3P |
3 |
J-Frame |
5 |
|
B-Frame 4P |
4 |
L-Frame |
14 |
|
EDB 1P |
2 |
M-Frame |
29 |
|
EDB 2P |
3 |
P-Frame |
32 |
|
EDB 3P |
4 |
R-Frame (Without RLTB) |
52 |